
Porsche’s next idea: a gearbox that feels manual or automatic depending on your mood
18/03/2026
Porsche might have just found a way to keep the driving experience alive.
A newly published patent reveals a shift-by-wire system that can behave like both a manual and an automatic, depending on how the driver wants to interact with the car. And while it’s still just a patent, the idea itself says a lot about where performance cars are heading.
A manual feel, without a mechanical connection
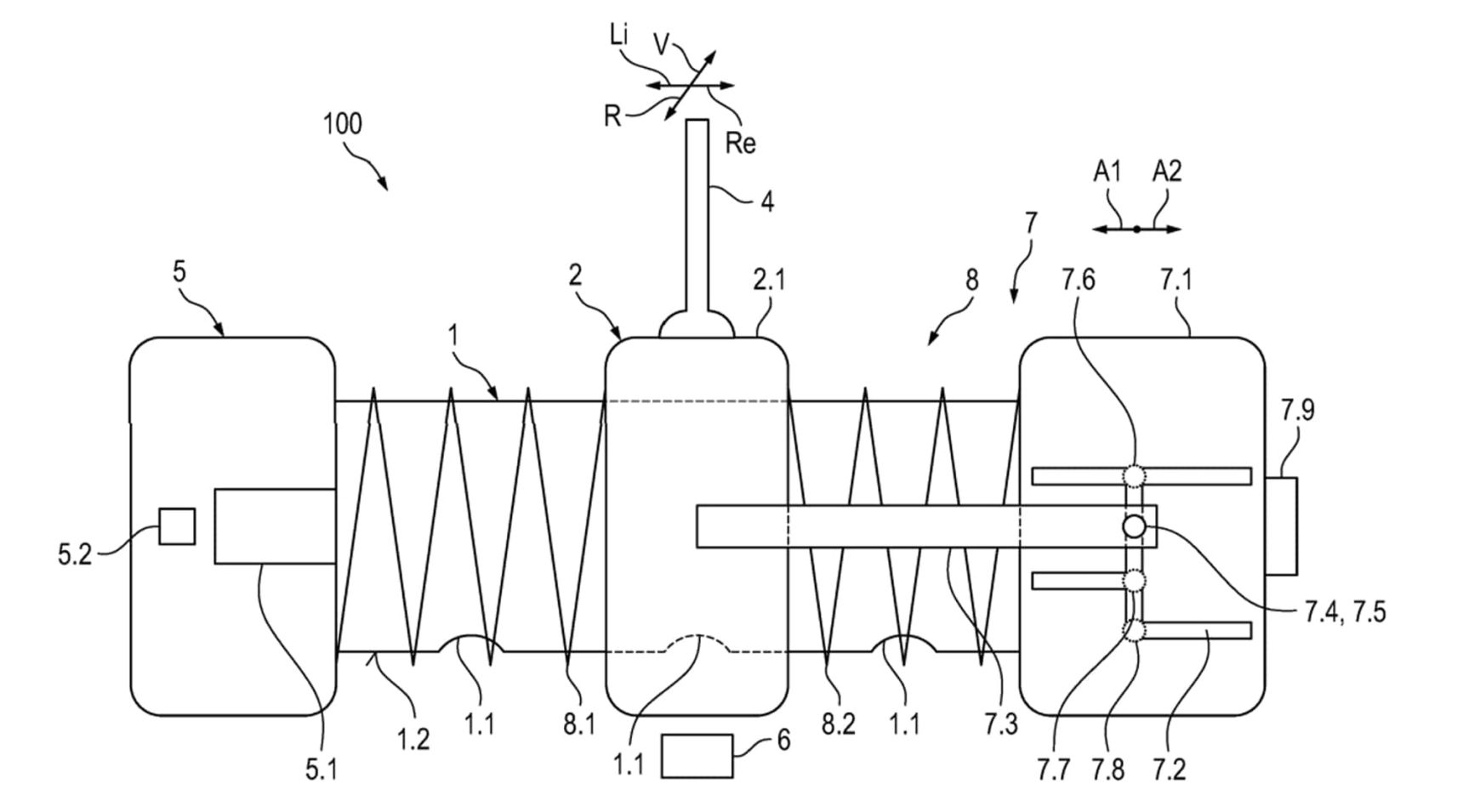
The concept is surprisingly clever. Instead of a traditional mechanical linkage between the gear lever and the transmission, Porsche uses a fully electronic interface. In its simplest form, the system works like a normal automatic:
Push forward or backward to cycle through drive modes
No physical connection to the gearbox
But here’s where it gets interesting. The same lever can unlock a manual-style H-pattern, allowing the driver to shift gears just like in a traditional manual car.
Sensors track every movement, while springs and electric motors simulate resistance and feedback, recreating the tactile sensation of shifting. In other words: It’s not a manual gearbox. But it could feel like one.
One system, multiple drivetrain possibilities
What makes this approach particularly relevant is its flexibility. Because the system is purely electronic, it can theoretically work with:
Traditional automatic gearboxes
Dual-clutch transmissions
Hybrid systems
Even future electric drivetrains
This is a key difference compared to solutions like the Koenigsegg CC850, where the complexity sits inside the gearbox itself. Porsche flips that idea. Instead of reinventing the transmission, it reinvents the driver interface.
Why this matters now more than ever
Let’s be honest. Manual gearboxes are disappearing. Even brands like BMW have already suggested that manuals won’t survive much longer in their current form. And yet, there’s still a strong group of enthusiasts who value driver engagement above everything else. This is exactly where Porsche’s idea becomes relevant.
It offers a potential middle ground:
The efficiency and scalability of modern transmissions
The emotional engagement of a manual
And that combination could be extremely powerful.
Patent today, production tomorrow?
Of course, this is still just a patent. And as we know, the automotive world is full of ideas that never make it to production.
But Porsche has a history of actually bringing engineering concepts to life, especially when it comes to preserving driving feel. So while nothing is confirmed, this is far from unrealistic.
AutoNext Take
This is one of those innovations that seems small on paper, but could have a massive impact. In recent AutoNext articles, we’ve seen how the industry is evolving in two directions at once:
On one side, full electrification and software-driven vehicles
On the other, a growing demand for emotion and driving engagement
Porsche is trying to bridge that gap. Instead of choosing between manual or automatic, they’re asking a more interesting question:
What if you could have both? It’s also a smart move strategically. As EVs and automated systems become the norm, the brands that win will be those that still manage to deliver feeling.
And if Porsche can replicate the emotional connection of a manual gearbox (even in an electrified future) this could become one of the most important innovations in driver experience. Not because it’s necessary. But because it keeps driving… human.